

1、开关柜测温技术概述
许多电气事故是由于设备或连接处过热而发生的,并且几乎所有的电气故障都伴随着故障点温度的变化。高压开关柜由于过流或接触不良造成触头、接点过热是一种严重的事故隐患,轻者造成线路断电,重者引发爆炸和火灾,严重影响生产安全。从过热开始到事故发生一般会有一段时间过程,如能及早发现温度异常并及时处理,将大大减少电气事故。对电气设备的运行温度,尤其是敏感位置温度的监测是故障预警和预防事故的重要手段。
因此,对开关柜触点等温度敏感位置的温度实时监测是十分重要的,传统国内测量开关柜内部温度的方法有很多种,主要有:无线测温、温度试纸法等。
光纤光栅火灾探测器是目前范围内上新一代光纤火灾探测器,具有本质安全、抗强电磁干扰、电绝缘性好、防雷击、高精度、重量轻体积小,能方便地使用波分复用技术在一根光纤中串接多个光纤光栅进行分布式测量等优点。因此,光纤光栅火灾探测器受到了较大范围内的广泛重视,并正在广泛应用。
3种开关柜测温技术对比如下:
光纤光栅测温技术 | 无线式测温技术 | 温度试纸测温 | |
测温精度 | ±0.3 ℃ | ±0.5℃ | 只显示该温度段相对应的颜色 |
分辨率 | 0.1℃ | 0.1℃ | 无 |
测温范围 | -40——+200℃(特种光纤光栅可达400℃) | -55——125℃ | -55——100℃ |
响应时间 | 小于1S | 一般要15秒 | 长,大于1分钟,需要定时去打开柜子查看,无法实时获取温度。 |
定位功能 | 准确 | 准确 | 准确 |
外观大小 | 35*3mm | 56*27*18mm | 5*2*0.5mm |
绝缘等级 | 陶瓷和光纤均绝缘 | 无线隔离 | 等电势安装,安全 |
使用寿命 | 10 | 5 | 1 |
安装方式 | 表贴 | 表贴 | 表贴 |
抗干扰 | 全光检测不受影响 | 根据应用场合,采用编码技术防止电磁干扰 | 受湿度等环境影响大 |
监控软件 | 功能齐全,并且可视化 | 有基本功能,没有可视化 | 无 |
探头能量 | 通过监控室的主机提供光强。 | 电池供电或者感应取电 | 无 |
上表可以看出,光纤光栅相比其他测温技术具有较高的优势,尤其是光纤光栅具有响应时间短,本质安全,绝缘性能良好,测量精度高,实时性好的特性,使得其特别适用于开关柜测温。
2、NTL-GX-3066(GS)光纤光栅开关柜测温系统
2.1产品设计依据
本项目中使用的NTL-GX-3066(GS)型光纤光栅测温系统及其辅件的设计、制造及施工均遵照较新版IEC标准和中国国家标准。主要标准如下:
《火灾自动报警系统设计规范》 GB50116-98
《火灾自动报警系统施工及验收规范》 GB50100-92
《线型光纤感温火灾探测器》 GB/T21197
《工业自动化仪表工程及验收规范》 GBJ93-86
《自动化仪表安装工程质量检验评定标准》 GB131-90
2.2系统工作原理
其实现原理如下:光纤光栅属于反射型工作器件,当扫描激光光源发出的波长连续调谐激光通过传输光纤射入时,光纤光栅会根据自身的温度选择性的反射特定的波长,并沿原传输光纤返回;根据被反射的激光波长可以分析出光纤光栅的温度。

2.3系统的基本组成
光纤光栅开关柜测温系统主要有以下部分组成,各部分的主要作用分述如下。
u T02型光纤光栅温度传感器
采用光纤光栅为测量单元,多个温度传感器之间相互并联,形成检测系统。检测开关柜内温度敏感部位的温度,实时传递温度报警信息给探测测温主机。
防护等级 | IP68 |
|
测温范围 | -40℃~+150℃ | |
封装 | 绝缘耐压耐高温导热材质 | |
外形尺寸 | 35mm*3mm |
u NTL-GX-3066(GS)光纤光栅测温主机
给现场检测光纤光栅温度传感器提供光源;对光纤光栅温度传感器返回的光信号进行调制解调;可输出火灾预警、超温报警、差温报警以及故障报警信号;并进行声光报警;可对所有监测数据进行存档,建立独立档案和历史记录。提供开关量输出端子,用于连接声光报警器和火灾控制器。
防护等级 | IP30 | |
通道数 | 32 | |
每通道测温点数 | 较多20 | |
测温精度 | ±0.3℃ | |
测温分辨率 | 0.1℃ | |
扫描周期 | ≤1s | |
光缆传输距离 | ≥40km | |
光缆类型 | 单模光纤 | |
工作环境温度 | -5~45℃ | |
工作环境湿度 | 0~95%无凝露 | |
供电电压 | AC220V 10W | |
报警方式 | 定温、差温 | |
系统自检功能 | 实时对光纤光栅感温火灾探测器及光缆传输线路进行断线故障及信号质量自检 | |
通信接口 | 10M以太网,RS232,USB(RS485、RS422可选) | |
显示接口 | VGA,支持计算机CRT、TFT液晶显示屏 | |
u监控软件
MKSD V1.0监控软件是一套专用于开关柜温度监测的软件,可实现温度实时显示、声光报警、历史数据查询、管理传感器温度数据库、显示设备的结构及型号等参数、预测故障发生的部位等功能,能够保证开关柜的安全运行。

软件主要功能包括:
【火灾自动报警】光纤光栅开关柜测温系统自动对光纤光栅温度传感器所在区域进行实时温度巡检,检测现场温度的异常波动,在火灾发生前及时报警。【监测点定位】光纤光栅开关柜测温系统的液晶显示屏以电子地图方式实时显示隧道内各个位置温度监测点的编号和当前温度值以及实际地理位置。方面管理人员操作和维护。
【状态查询】各个监测点的温度和报警信息都保存到光纤光栅温度在线监测仪的大容量储存器,系统按照时间将数据分为历史信息、实时信息,并且管理操作人员可以根据不同的时期动态调整监测点的实时状态监测时间间隔,满足实际要求。管理操作人员可查看各监测点的历史温度变化曲线,为决策和维护提供数据支持。
【报警设定】管理操作人员可对光纤光栅开关柜测温系统的报警触发条件进行设定,以适用各种不同型号的高压开关柜。
【温度统计】可实时给出隧道内每个分区的较高温度值及对应该分区内所有监测点的实时温度。
【系统联动】可通过光纤光栅温度在线监测仪报警接口输出开关量直接接入仪表操作室现有的火灾控制器,实现火灾报警并在消防值班室显示;同时光纤光栅测温主机可直接外接两只声光报警器在仪表操作室给出火灾声光报警及光纤光栅测温计故障报警。
u工程配件
外接显示器:可直接连接到光纤光栅测温主机,以基于组态软件的电子地图界面直观显示开关柜内部各监测点的温度和报警信息。
航空胶:用于将温度传感器固定到开关柜内部的被监测物体上。
光纤跳线:在监控站内连接主光缆和光纤光栅测温主机的测量通道。。
防水型光缆接续盒:用于现场光纤尾纤到多芯光缆以及仪表操作室内光纤光栅测温主机到多芯光缆之间的接续保护,具有耐温、防水、防腐、机械防护等功能。
光纤分路盒:由于传感器很多都是并联的,因此需要用光纤分路盒进行分路。
光缆:单模非金属室外光缆,其主要作用为:用于各光纤光栅温度传感器连接到仪表操作室内光纤光栅测温主机之间的光信号传输。单模非金属室外光缆具有良好的温度适应范围、机械防护性和防水防腐能力,直接放置在电缆沟里。
2.4产品优势特点
技术优势:
自主研发的NTL-GX-3066(GS)光纤光栅火灾探测系统具有两大技术创新:
一.采用扫描激光光源技术
国内大多数厂家由于公司规模小,研发实力不足,同时为了降低成本,一般在主机光源的选择上会采用LED宽带光源,LED光源波长范围宽,能量不集中,方向性差,长期工作可靠性一般。这些缺点都会影响到产品的性能。
扫描激光光源介绍:扫描激光光源故名思议就是说,激光的波长不是一直不变的,而是会随着时间进行周期性的变化,某一时刻输出的是一定波长的激光。激光具有方向性好,能量高,单色性好等特点。
(下面对扫描激光和LED宽带光源做个形象的比喻,在一个黑暗的房间里,扫描激光就像是手电筒,能把光束汇聚在一个方向,这样在某一点亮度高,能看清细小的东西,通过旋转手电筒从而看清整个房间的所有细节,这种单点亮度高,方向性好,能够旋转扫描的光源我们称之为扫描激光光源,而LED宽带光源则相当于相同功率的白炽灯,虽然能同时照亮整个房间,但是由于各个地方分到的能量少,光强比较弱,从而不容易看清细节。)
采用扫描激光器的好处:
1.波长分辨率高,可达1pm;
2.输出功率高,单台主机较多可带32通道;
3.光谱边模抑制比高,可达60dB,使得性噪比优异,测量更加准确;
4.光谱稳定性好,系统长时间运行稳定,避免误报;
二.独特标定技术
传统的标定多采用单一的光纤热标准具或其它器件进行标定,容易受外界环境温度的影响,标定精度差、可靠性差NTL-GX-3066(GS)在传统标定的基础上,引入独特光纤波长校准器件——气体吸收盒。
气体吸收盒原理:由于每种气体都有吸收特定波长的特性,这种特性不受温度,压强等环境因数的改变而变化,运用此特性研制成了气体吸收盒,
采用气体吸收盒的好处:
1.标定精度高,可以大范围多点校准,测量精度可达0.5度以内;
2.长期可靠性好,不受外界环境因素的影响;
3、系统方案设计
(1)项目需求及配置:
点位安装需求清单:
本项目共配置1台主机,384个传感器
(2)工程安装

传感器部分:
光纤温度传感器根据需要可以设计多种外形-接触型或非接触型,由于陶瓷材料良好的导热性能,接触型传感头测得的温度就是被测感温面的温度,若传感器放置在空气中,则测到的就是环境温度。为了准确测量物体表面的温度,应保证传感器的感温面与被测物体的表面紧密接触。
在安装光纤传感器前,首先需要确定传感器的固定测温面,光纤式温度传感器的传感头都有一个定位标记,和定位标记相反的一面即是传感器的测温面,将该面贴到被测物体表面,并采用粘结或其它方法(视使用场合不同而定)将其固定在被测物体上;传输光缆可以根据实际场合布设。
传感器具有小巧的感温头,可直接安装到被测物体表面,该传感器主要应用于高压开关柜接头,高压母线接头的温度测量。
FBG温度传感器采用SY-40航空胶(可耐300度高温)粘于静触头附近的铜排上,按照招标要求传感器固定位置离动静触头接触点距离小于250px.具体如下图所示;

光纤光栅温度传感器安装示意图
传输光缆部分:
传输光纤的作用是连接传感头与后台系统的光信号,光纤外套采用绝缘胶皮内加抗拉纤维封装,可直接在可生根处通过绝缘束紧带进行捆扎固定。
在被测物体裸露的情况下可将传输光纤直接依附在就近的支撑物体上引入后台设备。
在部分没有预留通孔的密封电柜设备中需要另行开孔将光纤引入后台设备,孔径1厘米大小,没有严格规定,以能正常穿过光纤跳线为准,之后再用密封胶将孔再次密封。

传输光缆安装

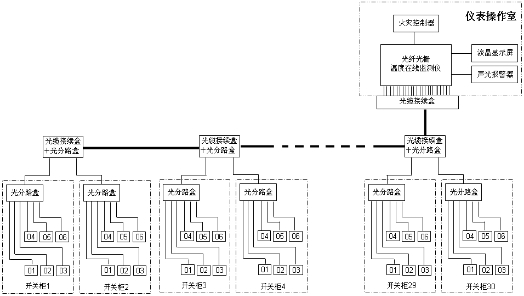
测温主机部分:
光纤光栅测温主机为机柜式安装,安装在仪表控制柜内,采用AC220V供电,输出信号为RS485/232和无源接点开关信号。测温主机的各个光通道接口分别连接光纤光栅温度传感器。各个分区的报警信号通过光纤光栅测温主机输出给火灾报警控制器,实现火灾报警及地址判断。
4、系统性能特点
本方案充分考虑到了整个监测系统的经济性、可靠性、维护管理便利性,可将光纤光栅测温主机放置在监控室内,该系统可通过开关量信号接口及标准通信接口与消防报警系统及消防控制系统相连接。在监控室内设置的火灾报警控制终端,可以对各储罐的光纤光栅温度传感器输出温度值、报警状态、工作状况进行实时查看。
实时在线监测:所有监测点的单次测量时间小于1秒,较快小于3ms;
无人监测:监测站全自动监测,无需现场值班人员;
全光测量:监测信号为光信号,传感信号不受电磁干扰;
测量精度高:测量精度±0.5℃,测温分辨率0.1℃;
性能可靠稳定、寿命长:核心器件全部进口,具有相当的质量保证,MTBF>5年;
方便定位:通过软件关联技术,能够快速的定位测点的区域或者具体的物理位置;
安全性高:传感器本身采用陶瓷封装,绝缘性能良好,较高可耐受470KV高压;
良好的兼容性:通过各种通讯接口(串口、网口等),可实现与外部系统的良好结合,提高系统之间的数据交换兼容性和速度。